Apple 'Wrist-Worn' Device Patent Hints at iWatch Gesture Support, and More

Advertisement
By Robin Sinha | Updated: 23 July 2014 15:30 IST

As further evidence to show Apple is certainly researching the the concept of a smartwatch, long expected to be called Apple iWatch, the US Patent and Trademark Office (USPTO) has awarded another patent to the Cupertino firm for a wrist-worn gadget design with touchscreen, gestures and smartphone connectivity.

The patent, titled "Wrist-worn electronic device and methods therefor", was granted to Apple on Tuesday and was submitted in July 2011. The patent describes a wrist-worn device to pair via various protocols with a smartphone, tablet or desktop PC featuring cellular or Wi-Fi connectivity.

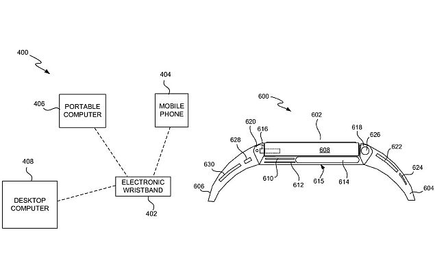
The detachable device seen in the patent is meant to be clipped onto a wristband, and can control functions of the smartphone and apps, apart from being able to display incoming calls and messages, as well as social and news feeds, similar to what other smartwatches display.

Advertisement

The patent, filed years ago, likens the watch face to a square-shaped iPod nano, an attachable wrist-carrying concept that actually made it to reality as a media player with the sixth-generation iPod nano, as Apple Insider notes. Interestingly, one diagram in the patent labels the wearable device 'iTime' - though since iWatch is trademarked, the latter seems more probable.

The smartwatch in the patent is described as being able to alert the user via audio, visual or haptic feedback (like vibrations). The device might also house haptic sensors as indicated by the patent, and also perform gesture recognition. "For example, the gesture might be a single shake (or bounce, tap, etc.) of the user's wrist for one user input option (e.g., accept incoming call), and might be a pair of shakes (or bounces, taps, etc.) for another user input option (e.g., decline incoming call)," states the invention background section.

The patent describes the core body as well as the strap of the smartwatch to include various sensors, biometric components, GPS modules, NFC antennas, Bluetooth packages, proximity detectors and others. Proximity-based triggers are also described, where the wrist-worn electronic device would warn the user if the paired smartphone has been left behind, stolen or out of range.

Advertisement

Of course, one cannot say what features seen in the patent will be included in the rumoured Apple iWatch until (or if ever) it is official unveiled. The patent, far from providing details as to what the final commercial product would exactly feature, indicates what the Cupertino firm was thinking about in 2011.

Apple is expected to launch its alleged iWatch in October this year. The rumoured iWatch is also said to sport an 2.5-inch display and collect health-related data of users. The Cupertino firm also poached a senior executive from Swiss luxury watch brand Tag Heuer, which is expected could be to help it with the launch of its iWatch expected this autumn.

 

For the latest tech news and reviews, follow Gadgets 360 on X, Facebook, WhatsApp, Threads and Google News. For the latest videos on gadgets and tech, subscribe to our YouTube channel. If you want to know everything about top influencers, follow our in-house Who'sThat360 on Instagram and YouTube.

Advertisement

Related Stories

Popular Mobile Brands
  1. Motorola Edge 70 5G Price Leaked Ahead of Global Launch
  2. Realme 15x 5G With 7,000mAh Battery Launched in India: See Price
  3. iQOO 15 Confirmed to Launch With This Useful Charging Upgrade
  4. Tata Communications Partners BSNL to Offer eSIM Services Across India
  5. Nothing OS 4.0 With New Features Is Available for These Nothing Phones
  6. Asus ROG Zephyrus G16 (2024) Long Term Review: How Does It Hold Up?
  7. Samsung Reportedly Revives Galaxy S26+ Due to Galaxy S25 Edge's Low Sales
  1. James Webb Offers First Glimpse Into How Moons Are Built Around Distant Planets
  2. James Webb Telescope Unveils Hidden Star-Forming Regions in Sagittarius B2
  3. Orionid Meteor Shower 2025: When and How to Watch Stunning Shooting Stars
  4. Million Dollar Listing: India Season 2 Streaming Now on OTT: Know When and Where to Watch it Online.
  5. Dill Bill is Now Streaming Online: Know Everything About its Cast, Story, Release Date, and More
  6. Little Hearts (2025) Telugu OTT Release: What You Need to Know about its Cast, Plot, Trailer, and More
  7. JWST Delivers First-Ever Weather Report of Rogue Brown Dwarf World Glowing With Auroras
  8. Made In India: A Titan Story OTT Release Date: Know When and Where to Watch it Online
  9. Halo Studios to Host a "Deep Dive" on Halo Games in Development This Month
  10. Tata Communications Partners BSNL to Offer eSIM Services Across India
Gadgets 360 is available in
Download Our Apps
Available in Hindi
© Copyright Red Pixels Ventures Limited 2025. All rights reserved.