Apple Could Be Working on In-Display Infrared Fingerprint Scanner, Patent Suggests

Apple switched to Face ID starting with iPhone X series.

Advertisement
By Vineet Washington | Updated: 4 November 2020 14:59 IST
Highlights
  • Apple has been granted in-display fingerprint scanning patent
  • The patent was filed in October 2018
  • Apple has not shared any details on the new technology

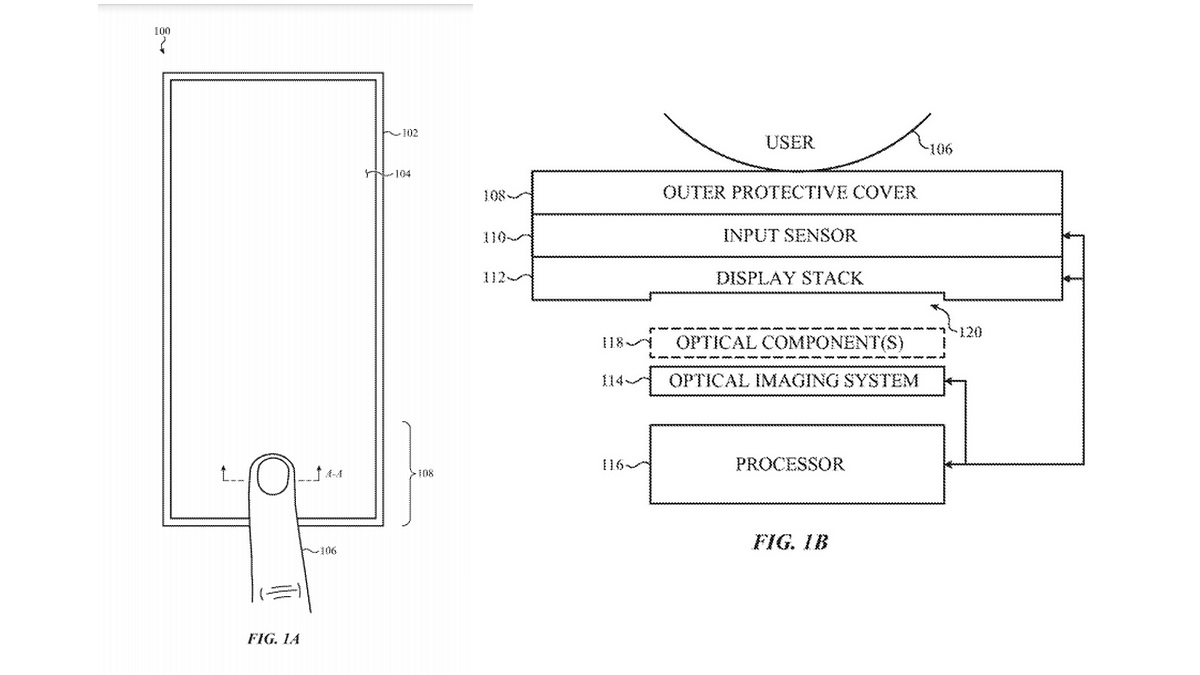
Apple’s patent shows input sensor stacked between outer cover and display stack

Apple has been granted a patent for an image sensor housed under the screen by the US Patent and Trademark Office. The patent that was filed in October 2018 suggests that the company could be planning to add an in-display fingerprint scanning technology in its future offerings. In the past, Apple used a physical fingerprint scanner called Touch ID and then moved to Face ID with its iPhone X series. As per the patent, the input sensor will be placed between the ‘outer protective cover' and the ‘display stack.'

The patent filed by Apple with the US Patent and Trademark Office with patent number 10,824,837 B2 back in October 2018 has now been granted. It includes plans for an “optical imaging sensor” that is “positioned at least partially behind a display and is configured to emit shortwave infrared light.”

It should be noted that patents usually indicate avenues that a company may be exploring. It's not necessary that a patented research will always translate into mass production. Apple's patent suggests that it plans on introducing an in-display fingerprint scanner with a device, however, it is currently unclear whether it could be for the next generation iPhone and iPad models, if at all.

Advertisement

Apple's patent includes a protective outer cover that will be the interface surface, a display positioned adjacent the protective outer cover, and an optical imaging system that comprises a light emitting element that produces shortwave infrared light. This is essentially how an in-display fingerprint scanner works as the light reflected back from the finger is used to construct a unique image or fingerprint. Another method of in-display fingerprint authentication is ‘ultrasonic,' that involves sending ultrasonic pulse to detect the ridges and valleys of a fingerprint. It is present in the Samsung Galaxy S20 series of phones.

Advertisement

In the past, Apple has steered clear of in-display fingerprint scanning. After its Touch ID system, that was last seen on iPhone SE (2020), it switched to Face ID starting with the iPhone X series. Apple has also decided to stick with Face ID for its latest iPhone 12 series, but decided to go with Touch ID for its new iPad Air.


Are iPhone 12 mini, HomePod mini the Perfect Apple Devices for India? We discussed this on Orbital, our weekly technology podcast, which you can subscribe to via Apple Podcasts, Google Podcasts, or RSS, download the episode, or just hit the play button below.

 

Affiliate links may be automatically generated - see our ethics statement for details.
 

Get your daily dose of tech news, reviews, and insights, in under 80 characters on Gadgets 360 Turbo. Connect with fellow tech lovers on our Forum. Follow us on X, Facebook, WhatsApp, Threads and Google News for instant updates. Catch all the action on our YouTube channel.

Advertisement

Related Stories

Popular Mobile Brands
  1. Motorola Edge 70 With 5,000mAh Battery Launched in India at This Price
  2. OnePlus 15R Storage Options Leaked: Here's How Much It Might Cost in India
  3. Bridgerton Season 4 Premieres in Two Parts on Netflix: See Details
  4. Jio Launches Happy New Year 2026 Prepaid Plans: Check Price, Benefits
  5. Oppo Reno 15c With Snapdragon 7 Gen 4 SoC Launched at This Price
  6. Samsung Galaxy A Series to Get More Expensive in India Soon, Tipster Claims
  7. All the Details About Kunal Khemu's Comedy Drama 'Single Papa'
  8. Star Wars: Fate of the Old Republic Will Launch Before 2030
  9. ChatGPT's Adult Mode Might Arrive in Early 2026
  10. This Ex-OnePlus, ByteDance Director Wants to Compete With Google Lens
  1. Amazon Introduces Ask This Book AI Feature for the Kindle App, Provides Spoiler-Free Answers
  2. MacBook Air (2025) With M4 Chip Available With Over Rs. 10,000 Discount in India: Here Are the Details
  3. Oppo Reno 15c Launched With Snapdragon 7 Gen 4 SoC, 6,500mAh Battery: Price, Specifications
  4. Star Wars: Fate of the Old Republic Will Launch Before 2030, Game Director Confirms
  5. Samsung Galaxy A56 Price in India Set to Increase Soon Alongside Other A Series Models, Tipster Claims
  6. Motorola Edge 70 Launched in India With 5,000mAh Battery, 50-Megapixel Triple Rear Cameras: Price, Specifications
  7. ChatGPT Adult Mode to Reportedly Be Rolled Out in 2026, to Participate in Erotic Roleplays
  8. OnePlus 15R Price in India, Storage Configurations Leaked Days Before Launch in India
  9. Reliance Jio Launches Happy New Year 2026 Plans With Unlimited 5G Access, Google Gemini Pro
  10. Early Earth’s Deep Mantle May Have Held More Water Than Previously Believed, Study Finds
Gadgets 360 is available in
Download Our Apps
Available in Hindi
© Copyright Red Pixels Ventures Limited 2025. All rights reserved.