Microsoft Making Fitness Band, Not a Smartwatch: Report

Advertisement
By Hitesh Arora | Updated: 3 July 2014 13:12 IST
Microsoft has been long-rumoured to be making a smartwatch, which could debut in the fourth-quarter of this year. While the company is keeping silence, the sources close to Microsoft say the company is planning a fitness band instead that also displays smartphone-based notifications.

According to Paul Thurrott, who has a good track record when comes to Microsoft leaks, the Redmond giant's upcoming wearable isn't intended as a smartwatch but is more of a fitness tracker like the Samsung Gear Fit, and works with Windows Phone, apart from Android and iOS devices.

"It will work with everything and not just the device maker's smartphone platform," wrote Thurrott in his report. Further referring to sources, he said that the alleged smartwatch or fitness band will release this fall and pricing could be the same as Samsung Gear not the Gear fit.

(Also see: Samsung Gear Fit Smart Band Price Slashed to Rs. 12,100)

Advertisement

Since Microsoft's alleged plans are similar to Samsung's fitness band, the report suggests that it will have fitness features like tracking steps, calories burned, heart rate, and more. It can appatently also support third party apps along with Microsoft's Bing Health & Fitness and Healthvault apps.

Advertisement

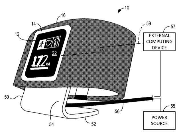
What very well could be the design of Microsoft's fitness tracking band has been seen in couple of recently published patent applications in USPTO, suggesting a smartwatch with notifications, GPS navigation and a heart-rate tracker, along with different sensors. One of the patents also suggested a vertical charging dock for the device.

The claims by Paul Thurrott are also in-line with earlier alleged details via sources of Tom's Hardware. The website stated in a report that its sources have confirmed one of the major features of the proposed Microsoft-made smartwatch - cross-platform compatibility. Also, the design profile of the Microsoft ssmartwatch's said to be like a flatter version of the Nike FuelBand, along with 11 sensors under the hood.

 

Get your daily dose of tech news, reviews, and insights, in under 80 characters on Gadgets 360 Turbo. Connect with fellow tech lovers on our Forum. Follow us on X, Facebook, WhatsApp, Threads and Google News for instant updates. Catch all the action on our YouTube channel.

Advertisement

Related Stories

Popular Mobile Brands
  1. WhatsApp for iOS May Soon Make It Simple for Admins to Grow Their Audience
  2. iQOO Z11 Turbo Confirmed to Pack Snapdragon 8 Gen 5 SoC at This Price
  3. Honor Win, Win RT Debut With 10,000mAh Battery
  4. Asus Tipped to Start RAM Manufacturing Amid Global Shortage
  5. Honor Power 2 Geekbench Scores Surface Alongside iPhone Pro-Style Rear Design
  6. Realme 16 Pro Will Launch in India With This MediaTek Chip, Battery
  7. Honor Magic 8 RSR Porsche Design Launch Timeline Leaked
  8. Samsung's Galaxy Z TriFold Breaks in JerryRigEverything's Bend Test
  1. OpenAI, Anthropic Offer Double the Usage Limit to Select Users Till the New Year
  2. Samsung to Reportedly Start Manufacturing Its Next-Gen AI Memory Chip in 2026
  3. Honor Magic 8 RSR Porsche Design With Snapdragon 8 Elite Gen 5 SoC Could Launch in Early 2026
  4. BMSG FES’25 – GRAND CHAMP Concert Film Now Streaming on Amazon Prime Video
  5. Bridgerton Season 4 OTT Release Date: When and Where to Watch it Online?
  6. Nvidia Is Reportedly Acquiring AI Chip Designer Groq’s Assets for $20 Billion
  7. Honor Win, Win RT With 10,000mAh Battery, Snapdragon Chipsets Launched: Price, Specifications
  8. Samsung’s Galaxy Z TriFold Display Breaks in Bend Test, Raising Durability Concerns
  9. iQOO Z11 Turbo Price, Chipset, More Details Revealed Ahead of Launch: See Expected Features
  10. Disco Elysium - The Final Cut Is Free Right Now on Epic Games Store: How to Redeem
Gadgets 360 is available in
Download Our Apps
Available in Hindi
© Copyright Red Pixels Ventures Limited 2025. All rights reserved.