Samsung May Launch a Foldable Drone, Patent Filing Tips

Advertisement
By Gaurav Shukla | Updated: 28 December 2018 18:47 IST
Highlights
  • There is no word on when the Samsung drone might be released
  • Patent indicates the drone housing will include two compartments
  • The Samsung drone will include a camera, gyroscope, barometer and more

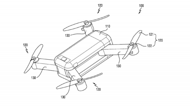
Samsung has filed for as many as five drone-related patents in 2018

Photo Credit: USPTO/ Samsung

If a recent patent application is any indication, Samsung is planning to enter the drone market. According to a report, the South Korean tech giant is working on a foldable drone that will include features like a camera, gyroscope, accelerometer, and a barometer. There is no word on when this drone will be released for mass consumption, but the company does seem to be serious about the drone market as it has gotten as many as five drone-related patents this year alone.

As per a United States Patent and Trademark Office (USPTO) patent application, filed on June 15 last year, Samsung plans a foldable drone. The drone arms, on which the propellers will be fixed, can be folded and unfolded against the main body. The housing structure of the drone seems to be comprised of two compartments, which join together to form a compact unit. The patent application was first spotted by DroneBelow, which notes this is Samsung's fifth drone-related patent application to be published in 2018.

“The unmanned aerial vehicle includes a housing with a first housing structure and a second housing structure, a wireless communication circuit coupled to the housing or located inside the housing for wireless communication with an external controller, a plurality of propulsions systems coupled to the housing, and a navigation circuit configured to control the plurality of propulsion systems,” Samsung explained in the patent application.

Advertisement

The patent suggests that the Samsung drone will have the usual capabilities, like the support to wirelessly control it using a smartphone, tablet, or PC. Additionally, Samsung drone may also feature support to control it via other electronic devices like home appliances such as washing machine, wearable devices, body implants, and more.

Samsung's drone will also be sensor heavy, with the likes of gyroscope, barometer, compass, ultrasonic, temperature, light and ultraviolet sensors present in the device.

The drone market, which is mainly dominated by the Chinese companies, is expected to top $11.2 billion in 2020. According to the 2018 Drone Market Sector report by Skylogic Research, DJI is current market leader with an estimated 74 percent market share, followed by Yuneec with 5 percent share and 3D robotics with just 3 percent. The entry of a giant like Samsung is certainly expected to shake up the industry.

 

For the latest tech news and reviews, follow Gadgets 360 on X, Facebook, WhatsApp, Threads and Google News. For the latest videos on gadgets and tech, subscribe to our YouTube channel. If you want to know everything about top influencers, follow our in-house Who'sThat360 on Instagram and YouTube.

Further reading: Samsung, Drones
Advertisement

Related Stories

Popular Mobile Brands
  1. Google Pixel 10 Pro Fold Explodes During YouTuber's Durability Test
  2. Oppo Find X9 Series Could Launch in India on This Date
  3. Realme GT 8 Series Launch Date Announced: See Expected Price, Features
  4. Apple Official Teases Upcoming Launch of MacBook Pro: What to Expect
  5. Honor Magic 8, Magic 8 Pro Debut With Snapdragon 8 Elite Gen 5 SoC
  6. Motorola Announces Ultra-Thin Galaxy S25 Edge, iPhone Air Competitor
  7. You Can Now Make AI Edits to Images Directly via Google Lens and AI Mode
  8. Lokah Chapter 1: Chandra OTT Release Date Revealed: All You Need to Know
  9. YouTube Will Soon Add a New Mental Health and Wellbeing Section for Teens
  10. YouTube Rolls Out Visual Changes With Redesigned Video Player and More
  1. Honor MagicPad 3 Pro Launched With 12,450mAh Battery, Snapdragon 8 Elite Gen 5 SoC Alongside MagicPad 3 12.5
  2. Honor Watch 5 Pro Launched With Sleep Apnoea Detection, Heart Rate Monitoring: See Price, Specifications
  3. Lokah Chapter 1: Chandra OTT Release: When, Where to Watch Malayalam-Language Fantasy Thriller Online
  4. Honor Magic 8, Magic 8 Pro Launched With Snapdragon 8 Elite Gen 5 Chipset: Price, Specifications
  5. Nothing Phone 3a Lite BIS Listing Hints at Imminent India Launch
  6. Google Pixel 10 Pro Fold Explodes During YouTuber's Durability Test
  7. Assassin's Creed Boss Marc-Alexis Coté Exits Ubisoft After Launch of New Tencent-Backed Subsidiary
  8. WhatsApp Begins Testing Status Update Notifications on Android: Report
  9. Google Expands Nano Banana Image Editing Model to Lens and AI Mode
  10. YouTube Launches Mental Health and Wellbeing Section for Teenagers With Specialised Content
Gadgets 360 is available in
Download Our Apps
Available in Hindi
© Copyright Red Pixels Ventures Limited 2025. All rights reserved.