Samsung Patent Application Hints at Wireless Charging Case for AR Glasses

A wireless charging case could eliminate the need to manually charge AR glasses.

Advertisement
Written by David Delima | Updated: 11 September 2024 14:07 IST
Highlights
  • Samsung's latest patent application describes an AR glasses charging case
  • The case is shown to charge a pair of AR glasses wirelessly
  • It is unclear whether Samsung plans to launch a wireless charging case

Fig 12a (left) and Fig 2 show different views of the wireless charging case

Photo Credit: WIPO/ Samsung

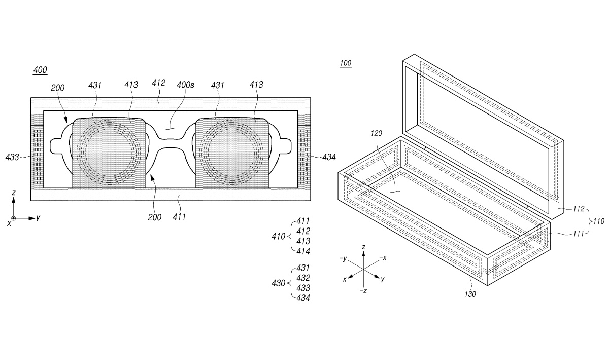
Samsung could be working on a wireless charging case for a pair of augmented reality (AR) glasses, according to a recently published patent application. While there's not a lot of information about the AR headset, the patent application sheds some light on how the wireless charging case would function. If the company launches a device described in the patent, users will need to place their AR glasses inside a rectangular case in order to charge the headset when the battery runs low.

A patent application filed by Samsung earlier this year was recently published on the World Intellectual Property Organization (WIPO) website (via 91Mobiles). Titled 'Wireless Power Transmitting Device', the description for the invention states that it is related to a charging device for AR glasses.

In the various diagrams included in the patent document, Samsung describes the use magnetic coils to transmit power to a receiving device which also has a magnetic coil for wireless charging. These coils are shown to be in alignment with the lenses of the AR glasses in Fig 9a, in a horizontal orientation

Advertisement

In Fig 2, the charging case is shown to sport a rectangular box-like design, with a hinge that flips open revealing the storage area for the AR glasses. Figures 3a and 3b shows the wearable inside the case while folded, with the arms at the bottom. 

Advertisement

Fig. 9a (left) and Fig. 8
Photo Credit: WIPO/ Samsung

Advertisement

 

Meanwhile, figures 12a and 12b show the AR glasses placed inside the charging case with the frame positioned vertically. The side coils (depicted clearly in Fig 8) are perpendicular to the bottom of the charging case and placed on either side of the AR glasses' lenses.

Advertisement

While the patent application isn't a clear indication of whether Samsung plans to introduce a pair of AR glasses with support for wireless charging, the adoption of wireless charging could make such a device much easier to by eliminating the need to remember to charge their AR headset. The glasses would also have a full charge when they are taken out of the charging case, just like truly wireless stereo (TWS) headsets today. 

Affiliate links may be automatically generated - see our ethics statement for details.
 

Get your daily dose of tech news, reviews, and insights, in under 80 characters on Gadgets 360 Turbo. Connect with fellow tech lovers on our Forum. Follow us on X, Facebook, WhatsApp, Threads and Google News for instant updates. Catch all the action on our YouTube channel.

Advertisement

Related Stories

Popular Mobile Brands
  1. Wobble One Launched in India With Dimensity 7400 SoC at This Price
  2. Lava Agni 4 Launches in India With These Features and Specifications
  3. BSNL Rs. 107 Prepaid Plan Validity Reduced Again: See New Validity, Benefits
  4. iQOO 15 Pre-Booking Begins Today Ahead of Launch in India on November 26
  5. Vivo X300, Vivo X300 Pro Could Be Launched in India at This Price
  6. Jio Brings Free Gemini 3 AI to All 5G Subscribers: See Eligibility, Benefits
  7. HMD Terra M Launched With Up to 10-Day Battery Life, IP69K Rating
  8. PS5 Gets Rs. 5,000 Discount in India During Sony's Black Friday Sale
  9. Battlefield 6 Review: EA's Military Shooter Returns to Form
  10. Google Play Best of 2025: Here Are the Top Apps and Games in India
  1. Vivo X300, Vivo X300 Pro Price in India, Storage Variants Leaked Ahead of December Launch
  2. Lava Agni 4 Launched in India With 120Hz AMOLED Display and 5,000mAh Battery: Price, Specifications
  3. iQOO 15 Pre-Booking Begins Today Ahead of Launch in India on November 26
  4. Realme GT 8 Pro Launching Today: Know Price in India, Features, Specifications and More
  5. Battery Breakthrough Could Make Solar Panels Cheaper and More Powerful
  6. Single Papa OTT Release Date: When and Where to Watch Kunal Khemu’s Upcoming Comedy Drama Series?
  7. Interstellar Comet 3I/ATLAS Photographed Beside Distant Galaxy in Rare Cosmic Shot
  8. Diesel Set for OTT Release Date: When and Where to Harish Kalyan's Action Thriller Online?
  9. Aan Paavam Pollathathu OTT Release: When and Where to Watch Tamil Romantic Comedy Film Online?
  10. Eko (2025) OTT Release Date Tipped Online: When and Where to Watch it Online?
Gadgets 360 is available in
Download Our Apps
Available in Hindi
© Copyright Red Pixels Ventures Limited 2025. All rights reserved.